W203 радиатор кондиционера (конденсор)
Модератор: Gonza
Правила форума
Внимание!
В этом разделе общаемся только по техническим вопросам для Mercedes-Benz C-class
Внимание!
В этом разделе общаемся только по техническим вопросам для Mercedes-Benz C-class
- sidney
- Мастер
- Сообщения: 2907
- Зарегистрирован: 02.12.2009 19:19
- Город: Север
- Сейчас езжу на: S203 CDI + W168 CDI
- Благодарил (а): 1 раз
- Поблагодарили: 48 раз
W203 радиатор кондиционера (конденсор)
Надо запаять сабж, травит фреон. В Полоцке не берутся.
Стас говорил у него друг паял в Гродно, но как-то чутка далековато.
Кто подскажет вариант в Минске?
Стас говорил у него друг паял в Гродно, но как-то чутка далековато.
Кто подскажет вариант в Минске?
Нам нужен мир, и желательно весь.
-
6A3AP
Re: W203 радиатор кондиционера (конденсор)
Есть спецы занимаются только радиаторами, был у них 2-3 года назад. Сидят в коттедже ул. Масюковщина 2 (возможно 4).
Телефона уже не найду, может поищи гуглом.
Моют, паяют, чинят и т.д. говорили что можем из 3 а собрать. Но я у них только мыл и проверял купленный б/у радиатор.
Телефона уже не найду, может поищи гуглом.
Моют, паяют, чинят и т.д. говорили что можем из 3 а собрать. Но я у них только мыл и проверял купленный б/у радиатор.
-
BoolDozer
- Студент
- Сообщения: 106
- Зарегистрирован: 06.04.2011 15:06
- Город: Минск
- Сейчас езжу на: W203 200CDI
Re: W203 радиатор кондиционера (конденсор)
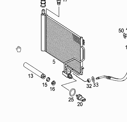
Извиняюсь, что влажу в тему, но новую плодить не хочется. Может мне подскажет номер фишки которая идет к датчику радиатора кондиционера W203 2005 рестайл.
Подскажите от каких моделей еще может подойти и от каких годов выпусков.
P.S. Мне только что преложили все магистрали с заменой резинок. Взяли всего 100 у.е. Все знакомые ездят на ремонт только туда. Если интересно скину в личку номерок.
Подскажите от каких моделей еще может подойти и от каких годов выпусков.
P.S. Мне только что преложили все магистрали с заменой резинок. Взяли всего 100 у.е. Все знакомые ездят на ремонт только туда. Если интересно скину в личку номерок.
- sidney
- Мастер
- Сообщения: 2907
- Зарегистрирован: 02.12.2009 19:19
- Город: Север
- Сейчас езжу на: S203 CDI + W168 CDI
- Благодарил (а): 1 раз
- Поблагодарили: 48 раз
Re: W203 радиатор кондиционера (конденсор)
Дайте Ваш ВИН.BoolDozer писал(а):Извиняюсь, что влажу в тему, но новую плодить не хочется. Может мне подскажет номер фишки которая идет к датчику радиатора кондиционера W203 2005 рестайл.
Подскажите от каких моделей еще может подойти и от каких годов выпусков.
Магистрали - это трубки хладигента? Если да, какие именно? Трубки меняли тоже? В озвученную сумму стоимость трубок входит?BoolDozer писал(а): P.S. Мне только что преложили все магистрали с заменой резинок. Взяли всего 100 у.е. Все знакомые ездят на ремонт только туда. Если интересно скину в личку номерок.
Нам нужен мир, и желательно весь.
-
BoolDozer
- Студент
- Сообщения: 106
- Зарегистрирован: 06.04.2011 15:06
- Город: Минск
- Сейчас езжу на: W203 200CDI
Re: W203 радиатор кондиционера (конденсор)
wdb2030071a848339
Меняли полностью все трубки. При аварии радиатор ушел назад и обламал все трубки которые подходят снизу. Также были помяты остальные трубки по всей длине. Работа большая, делали 2 дня. Стоимость работ под ключ. Осталось привезти разъем, снять компом ошибки и заправить систему.
Меняли полностью все трубки. При аварии радиатор ушел назад и обламал все трубки которые подходят снизу. Также были помяты остальные трубки по всей длине. Работа большая, делали 2 дня. Стоимость работ под ключ. Осталось привезти разъем, снять компом ошибки и заправить систему.
- sidney
- Мастер
- Сообщения: 2907
- Зарегистрирован: 02.12.2009 19:19
- Город: Север
- Сейчас езжу на: S203 CDI + W168 CDI
- Благодарил (а): 1 раз
- Поблагодарили: 48 раз
Re: W203 радиатор кондиционера (конденсор)
Эмм... Вы меня озадачили - а трубки они какие ставили? Самодельные? Подбирали? Наваривали старые?
Я не далее как три недели назад пытался по-человечески нормально отсоединить трубки, идущие к конденсеру (две их там), но они настолько закисли, что 2,5 часа мучений окончились тем, что я их распилил. Трубку пришлось заказывать новую, там слишком хитрое крепление. Одна трубка 118 евро. А тут $100 с работой и с трубками... Я в сомнениях.
Я не далее как три недели назад пытался по-человечески нормально отсоединить трубки, идущие к конденсеру (две их там), но они настолько закисли, что 2,5 часа мучений окончились тем, что я их распилил. Трубку пришлось заказывать новую, там слишком хитрое крепление. Одна трубка 118 евро. А тут $100 с работой и с трубками... Я в сомнениях.
Нам нужен мир, и желательно весь.
-
BoolDozer
- Студент
- Сообщения: 106
- Зарегистрирован: 06.04.2011 15:06
- Город: Минск
- Сейчас езжу на: W203 200CDI
Re: W203 радиатор кондиционера (конденсор)
Конечно самодельные. Трубки стандартные. Я по работе имею дело с такими, только большего диаметра. Например использую 15х1.5, гнутся с помощью нехитрого приспособления достаточно маленьким радиусом. Варианты соединения трубок разнообразны. Поэтому смущаться нечего. Ребята просто видимо еще не сильно зажирели и просят весьма гуманно. 
Кстати, бываю в районе Новополоцка раз в месяц, если нужно чего подвести - набирай
Что по фишке нашел?
Кстати, бываю в районе Новополоцка раз в месяц, если нужно чего подвести - набирай
Что по фишке нашел?
- sidney
- Мастер
- Сообщения: 2907
- Зарегистрирован: 02.12.2009 19:19
- Город: Север
- Сейчас езжу на: S203 CDI + W168 CDI
- Благодарил (а): 1 раз
- Поблагодарили: 48 раз
Re: W203 радиатор кондиционера (конденсор)
Я вижу датчик, но разъем не вижу. Варианта дваBoolDozer писал(а):wdb2030071a848339
1) попробуйте спросить в ветке Торговая площадка
2) я в среду поеду собирать все свое хозяйство, могу посмотреть, что там на разъеме нарисовано. Будет где то в среду в обед (при условии, что у нас датчики одинаковые)
Нам нужен мир, и желательно весь.
- sidney
- Мастер
- Сообщения: 2907
- Зарегистрирован: 02.12.2009 19:19
- Город: Север
- Сейчас езжу на: S203 CDI + W168 CDI
- Благодарил (а): 1 раз
- Поблагодарили: 48 раз
Re: W203 радиатор кондиционера (конденсор)
Млин, знал бы раньше...BoolDozer писал(а):Конечно самодельные. Трубки стандартные. Я по работе имею дело с такими, только большего диаметра. Например использую 15х1.5, гнутся с помощью нехитрого приспособления достаточно маленьким радиусом. Варианты соединения трубок разнообразны. Поэтому смущаться нечего.
Телефон давайте конечно, мало ли потом пригодится. Можно в личку.
За предложение "передать" спасибо, буду иметь ввиду, периодически такая необходимость возникает.
Нам нужен мир, и желательно весь.
-
BoolDozer
- Студент
- Сообщения: 106
- Зарегистрирован: 06.04.2011 15:06
- Город: Минск
- Сейчас езжу на: W203 200CDI
Re: W203 радиатор кондиционера (конденсор)
A203 830 03 72 Это номер датчика на который натягивается фишка. Судя по обрубленному куску, там 3 провода.
- sidney
- Мастер
- Сообщения: 2907
- Зарегистрирован: 02.12.2009 19:19
- Город: Север
- Сейчас езжу на: S203 CDI + W168 CDI
- Благодарил (а): 1 раз
- Поблагодарили: 48 раз
Re: W203 радиатор кондиционера (конденсор)
На указанный выше ВИН (wdb2030071a848339) датчик A2038300372 не пробивается!BoolDozer писал(а):A203 830 03 72 Это номер датчика на который натягивается фишка. Судя по обрубленному куску, там 3 провода.
Вместо него пробивается A0045429018. Я не знаю, есть конструкционно разница между первым и вторым, но на всякий случай имей это ввиду.
Нам нужен мир, и желательно весь.
-
BoolDozer
- Студент
- Сообщения: 106
- Зарегистрирован: 06.04.2011 15:06
- Город: Минск
- Сейчас езжу на: W203 200CDI
Re: W203 радиатор кондиционера (конденсор)
Один датчик давления, второй датчик температуры
.
http://www.elcats.ru/mercedes/Parts.asp ... B8%D0%B7+3
Вот страничка экзиста. Датчик под номером 20. На него и нужна фишка.

http://www.elcats.ru/mercedes/Parts.asp ... B8%D0%B7+3
Вот страничка экзиста. Датчик под номером 20. На него и нужна фишка.

- sidney
- Мастер
- Сообщения: 2907
- Зарегистрирован: 02.12.2009 19:19
- Город: Север
- Сейчас езжу на: S203 CDI + W168 CDI
- Благодарил (а): 1 раз
- Поблагодарили: 48 раз
Re: W203 радиатор кондиционера (конденсор)
Вот кстати гуру/знающие, объясните как такое может быть...BoolDozer писал(а):Один датчик давления, второй датчик температуры![]()
1) Беру свой вин, смотрю в EPC указанный датчик. Вижу, что на датчик указано две позиции - датчик давления и датчик температуры.
2) Беру ВИН, приведенный в данной теме, смотрю опять тот же датчик, вижу одну позицию - датчик давления.
Как понять? Один там вроде датчик, неделю назад его в руках крутил. У меня совмещены?
Нам нужен мир, и желательно весь.
-
6A3AP
Re: W203 радиатор кондиционера (конденсор)
sidney надо читать футноутсы там все кроется в данном случае.
BoolDozer как я вам и писал есть только 1 вариант, эти номера как ни странно на 211 кузов даются а на 203-и1 нет ))) хотя датчик тот же
BoolDozer как я вам и писал есть только 1 вариант, эти номера как ни странно на 211 кузов даются а на 203-и1 нет ))) хотя датчик тот же
Сделайте фото датчика со стороны фишки.скорее всего разъем это A2105404381 и контакты к нему A0005402305, однако программа пишет что там 4пина, посмотрите возможно 1 заглушен или не используется в фишке.
- sidney
- Мастер
- Сообщения: 2907
- Зарегистрирован: 02.12.2009 19:19
- Город: Север
- Сейчас езжу на: S203 CDI + W168 CDI
- Благодарил (а): 1 раз
- Поблагодарили: 48 раз
Re: W203 радиатор кондиционера (конденсор)
Хоть в чем-то мнения совпали...6A3AP писал(а): ... скорее всего разъем это A2105404381 ...
Тоже смотрел по 211 кузову
Нам нужен мир, и желательно весь.
-
BoolDozer
- Студент
- Сообщения: 106
- Зарегистрирован: 06.04.2011 15:06
- Город: Минск
- Сейчас езжу на: W203 200CDI
Re: W203 радиатор кондиционера (конденсор)
Вообщем немного подумав заказал
разъем это A2105404381 - 2.73евро
контакты к нему A0005402305 - 3.59евро
Посмотрим что приедет
разъем это A2105404381 - 2.73евро
контакты к нему A0005402305 - 3.59евро
Посмотрим что приедет
-
BoolDozer
- Студент
- Сообщения: 106
- Зарегистрирован: 06.04.2011 15:06
- Город: Минск
- Сейчас езжу на: W203 200CDI
Re: W203 радиатор кондиционера (конденсор)
Мое продолжение темы. Заказал разъем, контакт приехал только один. Пришлось докупить фишку парктроника БМВ в качестве донора. Подключили. Залили фреона 80гр и не включился компрессор
. Сказали что может быть неисправен электронный клапан. Даже не знаю куда стучаться по этому поводу.