Долго приходится крутить стартером с утра
Модератор: Gonza
Правила форума
Внимание!
В этом разделе общаемся только по техническим вопросам для Mercedes-Benz E-class
Внимание!
В этом разделе общаемся только по техническим вопросам для Mercedes-Benz E-class
-
Николай Киров
- Новичок
- Сообщения: 21
- Зарегистрирован: 16.02.2011 12:55
- Город: Киров
- Сейчас езжу на: МВ 211 CDI
Долго приходится крутить стартером с утра
W211 2.2 CDI В чем может быть причина сегодня у нас -3 градуса, машина простояла два дня, пришел заводить с утра завелся только со второго раза. Насос в баке кочает, слышно хорошо журчаение салярки по обратке в бак, но мотор не запускается такое ощущене, что даже не поступает топливо в систему, после прокрутки стартером секунд 15-20 завелся как не вчем и не бывало. Заглушил сразу и завелся с пол оборота. Может ли быть, что салярка угодит с системы и пока не накачает не заводится? Что делать это уже не первый раз, и случается толь зимой. А в сильные морозы прошлой зимой приходилось даже ставиль обогреватель под капот, хватало 30 минут чтобы завестись, но греть приходится сам насос высокого давления иначе не помогает.
Re: Долго приходится крутить стартером с утра
У меня чуть больше приходилось крутить на холодную когда насос подтекал (в прошлом году) и резинка на одной из топливных трубок износилась (в этом году). В обоих случаях присутствовал запах в салоне, сразу же после заводки можно было увидеть место подтека.
-
Николай Киров
- Новичок
- Сообщения: 21
- Зарегистрирован: 16.02.2011 12:55
- Город: Киров
- Сейчас езжу на: МВ 211 CDI
Re: Долго приходится крутить стартером с утра
Запаха нет ни какого в салоне, плиты с мотора снимал везде сухо и чисто. Вот что это за ерунда, я и сам не знаю.
- Gonza
- Mercedes-Club Group
- Сообщения: 5851
- Зарегистрирован: 24.07.2008 00:51
- Город: Минск
- Сейчас езжу на: GLK350 CDI
- Благодарил (а): 10 раз
- Поблагодарили: 78 раз
- Контактная информация:
Re: Долго приходится крутить стартером с утра
Тут однако по интернету не починить! Тут смотреть нужно.Николай Киров писал(а):Запаха нет ни какого в салоне, плиты с мотора снимал везде сухо и чисто. Вот что это за ерунда, я и сам не знаю.
Советую с утра обратить внимание на трубку от топливного фильтра до ТНВД (на предмет наличия солярки или большого кол-ва пузырьков воздуха)
------------------------------------
Клубный СЕРВИС
Я не участвую в социальных сетях!
Через вайбер, скайп и тэдэ, советов по ремонту не даю!
Пожалейте свое время. Телефон придумали в 1876 году! Пользуйтесь.
Клубный СЕРВИС
Я не участвую в социальных сетях!
Через вайбер, скайп и тэдэ, советов по ремонту не даю!
Пожалейте свое время. Телефон придумали в 1876 году! Пользуйтесь.
-
Николай Киров
- Новичок
- Сообщения: 21
- Зарегистрирован: 16.02.2011 12:55
- Город: Киров
- Сейчас езжу на: МВ 211 CDI
Re: Долго приходится крутить стартером с утра
Серьезного судя по всему тут нет потому, что Гена смотрел и ничего криминального не нашел. Я вот думаю, не скапилась ли где нибудь водичка в системе, и вот она меня и мучает. Попробывать бы как нибуть бак почистить что ли? Как проверить количество пузырьков, снять с фильтра шланг или с насоса?
-
Николай Киров
- Новичок
- Сообщения: 21
- Зарегистрирован: 16.02.2011 12:55
- Город: Киров
- Сейчас езжу на: МВ 211 CDI
Re: Долго приходится крутить стартером с утра
Вчера открыл крышки с мотора, везде сухо, только низ ( и два нижних болта (верхний сухой)) насоса высокого давления сырые, судя по всему это солярка с пылью. Откуда может подтекать?
- Gonza
- Mercedes-Club Group
- Сообщения: 5851
- Зарегистрирован: 24.07.2008 00:51
- Город: Минск
- Сейчас езжу на: GLK350 CDI
- Благодарил (а): 10 раз
- Поблагодарили: 78 раз
- Контактная информация:
Re: Долго приходится крутить стартером с утра
Ну наверняка, если это солярка, то из насосаНиколай Киров писал(а):Вчера открыл крышки с мотора, везде сухо, только низ ( и два нижних болта (верхний сухой)) насоса высокого давления сырые, судя по всему это солярка с пылью. Откуда может подтекать?
Но скорее всего из сочленения насос <-> топливные трубки
------------------------------------
Клубный СЕРВИС
Я не участвую в социальных сетях!
Через вайбер, скайп и тэдэ, советов по ремонту не даю!
Пожалейте свое время. Телефон придумали в 1876 году! Пользуйтесь.
Клубный СЕРВИС
Я не участвую в социальных сетях!
Через вайбер, скайп и тэдэ, советов по ремонту не даю!
Пожалейте свое время. Телефон придумали в 1876 году! Пользуйтесь.
-
Николай Киров
- Новичок
- Сообщения: 21
- Зарегистрирован: 16.02.2011 12:55
- Город: Киров
- Сейчас езжу на: МВ 211 CDI
Re: Долго приходится крутить стартером с утра
Трубки которые подходят к насосу сухие. Может ли подтекать между мотором и насосом? Вообще ,что это за большие болты с лицевой стороны 3 штуки под звездочку, они что крепят насос к двигателю, или это какие то пробки, дело в том, что кажется подтекает из под болтов (или пробок), хотя может это из под низа просто набрасывает на них.
- sidney
- Мастер
- Сообщения: 2909
- Зарегистрирован: 02.12.2009 19:19
- Город: Север
- Сейчас езжу на: S203 CDI + W168 CDI
- Благодарил (а): 1 раз
- Поблагодарили: 48 раз
Re: Долго приходится крутить стартером с утра
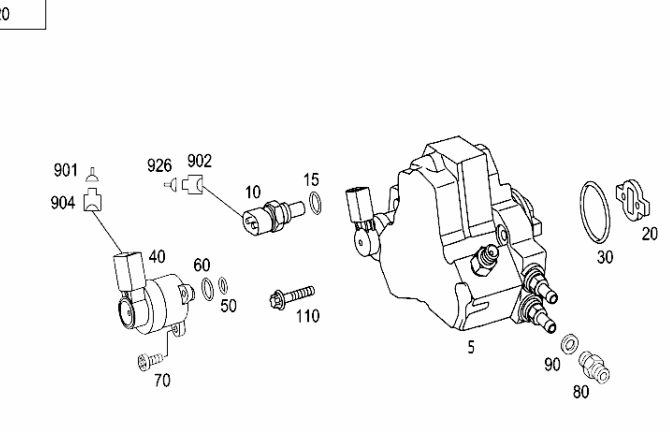
Кольцо под номером 30 видите? вот вполне может из под него подтекать. Но
1) течет там масло, а не солярка
2) на проблему с названием "Долго приходится крутить стартером с утра" это не влияет никак.
Надо все таки разораться, где конкретно течет - или насос, или сопряжение насос-мотор. И что конкретно течет - или масло, или солярка
1) течет там масло, а не солярка
2) на проблему с названием "Долго приходится крутить стартером с утра" это не влияет никак.
Надо все таки разораться, где конкретно течет - или насос, или сопряжение насос-мотор. И что конкретно течет - или масло, или солярка
Нам нужен мир, и желательно весь.
-
Николай Киров
- Новичок
- Сообщения: 21
- Зарегистрирован: 16.02.2011 12:55
- Город: Киров
- Сейчас езжу на: МВ 211 CDI
Re: Долго приходится крутить стартером с утра
Вся беда в том, что низ насоса не виден совсем по этому и не понятно где подтекает. По запаху похоже на салярку, а там кто его знает. На днях буду менять термостат тогда сниму все мешающие детали и посмотрю по конкретннее. На картинке нет трех болтов на лицевой стороне, вот умения именно два нижних мокрые. что это за болты или это какие то пробки, тогда почему их три.
- sidney
- Мастер
- Сообщения: 2909
- Зарегистрирован: 02.12.2009 19:19
- Город: Север
- Сейчас езжу на: S203 CDI + W168 CDI
- Благодарил (а): 1 раз
- Поблагодарили: 48 раз
Re: Долго приходится крутить стартером с утра
Болты на картинке под номером 110, их три штуки. Просто отдельно нарисованы
Ими ТНВД к двигателю прикручивается.
Ими ТНВД к двигателю прикручивается.
Нам нужен мир, и желательно весь.
-
Николай Киров
- Новичок
- Сообщения: 21
- Зарегистрирован: 16.02.2011 12:55
- Город: Киров
- Сейчас езжу на: МВ 211 CDI
Re: Долго приходится крутить стартером с утра
Эти болты понятные, а вот у меня на лицевой части три больших болта под звездачку.